Карта сайта
Киокушинкай:
Тамешивари

Aport Ranker

SUPERTOP

Our Site Is Listed at WWW.RU

ТАМЕШИВАРИ
Каратэ без тамешивари ,как дерево не приносящее плодов. М.Ояма
     
     
 
 
   
Тамешивари в исполнении японского мастера Киокушин каратэ Абэ
СЭЙКЕН ЦУКИ
Кинограмма удара - Сэйкен цуки
  Правильное выполнение удара
  Неправильное выполнение удара  
 
   
   
КАКАТО ГЕРИ
  Кинограмма удара - Какато гери
  Правильное выполнение удара
  Неправильное выполнение удара  
     
     
ХИДЖИ АТЭ
  Кионограмма удара - Хиджи атэ
  Правильное выполнение удара
  Неправильное выполнение удара  
     
     
     
ШУТО УЧИ
  Кионограмма удара - Шуто учи
  Правильное выполнение удара
  Неправильное выполнение удара  
     
     
 
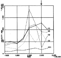
ТЕХНИКА ИЗМЕРЕНИЙ
 
     
  Для проведения замеров вся партия досок прошла проверку на идентичность прочностных характеристик
На человеке отмечались контрольные точки для определения траектории движения частей тела и последующего измерения скорости и ускорения.
Карта сайта
Киокушинкай:
Тамешивари